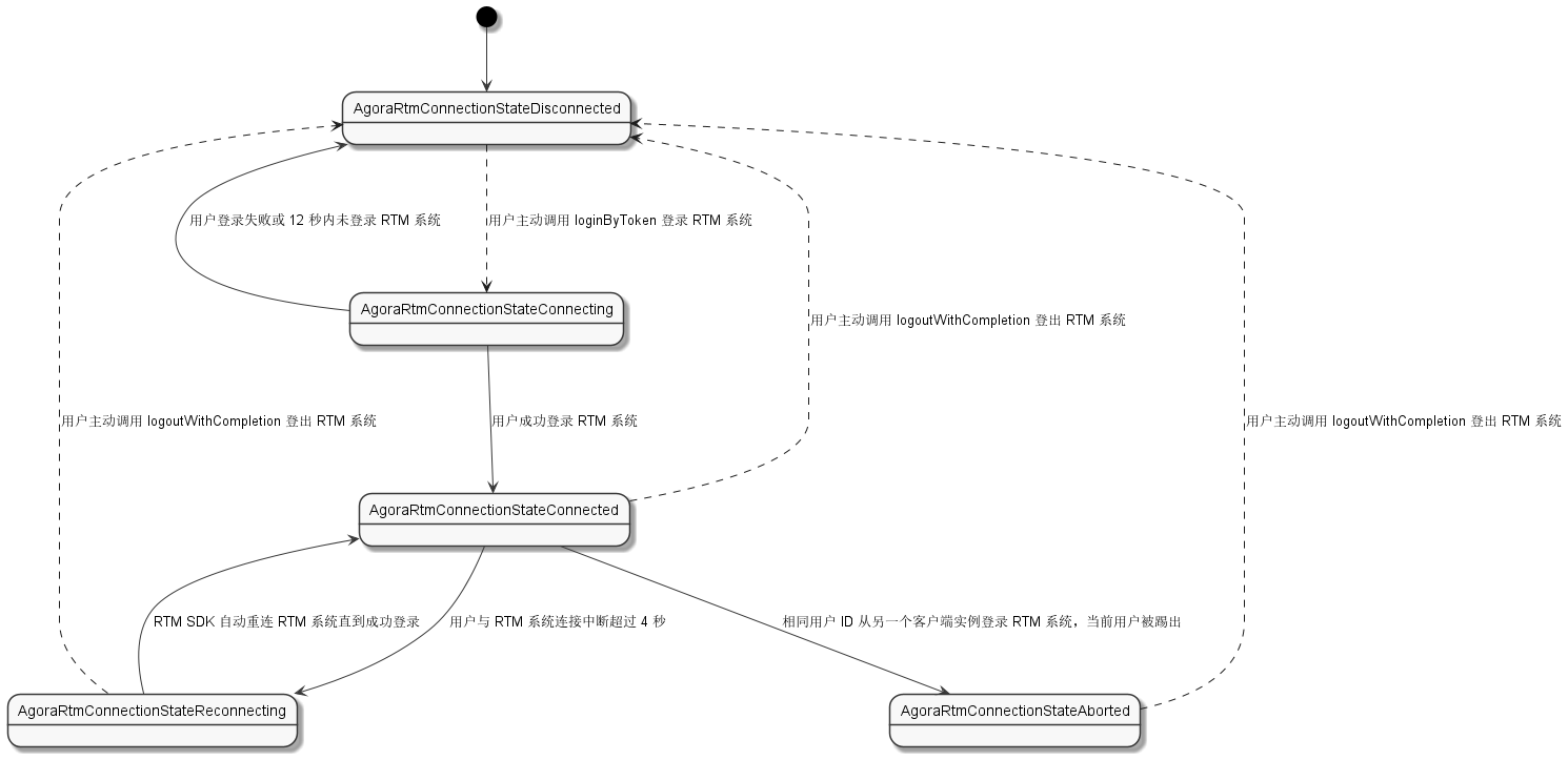
当用户登录、登出声网 RTM 系统,或者网络连接发生变化时,声网 RTM SDK 与声网 RTM 系统之间的连接会在不同状态之间切换。可能的连接状态如下:
如下图所示,实线表示 SDK 会根据条件自动实现部分状态切换。虚线表示需要用户主动调用 API 来实现。
connectionStateChanged 回调返回最新的状态 AgoraRtmConnectionState 枚举以及状态变化的原因 AgoraRtmConnectionChangeReason 枚举。你可以通过此回调对连接状态进行管理。你可以利用 connectionStateChanged 回调返回的状态和状态改变原因在下列情况中主动调用 API 变更连接状态。
在你调用 loginByToken 登录 RTM 系统时,连接状态会从 AgoraRtmConnectionStateDisconnected 转换为 AgoraRtmConnectionStateConnecting,状态改变原因为 AgoraRtmConnectionChangeReasonLogin。处于 AgoraRtmConnectionStateConnecting 状态时,连接状态会自动转换为下列状态之一:
AgoraRtmConnectionStateDisconnected:用户登录失败或登录超时(12 秒内未登录系统)。AgoraRtmConnectionStateConnected:用户登录成功。当连接状态变为 AgoraRtmConnectionStateDisconnected,你需要重新调用 loginByToken 登录。
当连接处于 AgoraRtmConnectionStateConnected 状态时,如果由于网络原因与声网 RTM 系统的连接中断超过 4 秒,连接状态会转换为 AgoraRtmConnectionStateReconnecting,状态改变原因为 AgoraRtmConnectionChangeReasonInterrupted。处于 AgoraRtmConnectionStateReconnecting 状态时,RTM SDK 会持续自动重新登录 RTM 系统直至登录成功,因此你无需进行任何登录操作。在断线重连期间发送的消息不会被投递,建议你在恢复连接后重新发送。重新登录成功后,连接状态会转换为 AgoraRtmConnectionStateConnected,SDK 不会返回 AgoraRtmLoginBlock 回调。
如果一直无法重新登录成功,连接状态会保持在 AgoraRtmConnectionStateReconnecting。你可以调用 logoutWithCompletion 先登出系统再根据实际业务情况调用 loginByToken 方法重新登录 RTM 系统。
根据连接中断到重新自动登录成功的时长不同,RTM 系统的行为也会有区别:
AgoraRtmConnectionStateConnected。用户的在线状态不变。memberLeft 回调。如果用户在之后重新成功登录系统,连接状态会转换为 AgoraRtmConnectionStateConnected。 SDK 会自动将用户加入之前加入的频道,同频道的用户会收到 memberJoined 回调。由于此时 RTM 系统已将用户从在线列表中移除, SDK 还会自动同步用户属性到 RTM 系统。在 AgoraRtmConnectionStateReconnecting 状态下,由于 SDK 会一直重连声网 RTM 系统,此时如果 Token 过期,SDK 会返回 rtmKitTokenDidExpire 回调。但是该回调不会对连接状态产生影响。
如果相同的用户 ID 从另一个客户端实例登录 RTM 系统,当前客户端实例中正在登录状态的用户会被 RTM 系统踢出,连接状态变为 AgoraRtmConnectionStateAborted。你可以调用 logoutWithCompletion 先登出系统再根据实际业务情况调用 loginByToken 方法重新登录 RTM 系统。
AgoraRtmConnectionStateAborted 状态下,调用所有需要当前用户登录的 API 都会失败。在实际业务场景中,对于被踢出的用户,建议应用对用户自动进行登出,但需要让用户手动进行再次登录。如果你实现了被踢状态下的自动登出和自动登录,可能会导致两端用户循环互踢。循环互踢一旦发生,需要一端的用户登出或者杀掉进程才会停止。如果你调用 logoutWithCompletion 登出 RTM 系统,连接状态会转换为 AgoraRtmConnectionStateDisconnected。RTM 系统会将对应用户从在线用户列表和频道中移除,同一频道的用户会收到 memberLeft 回调。
参考以下示例代码监听连接状态:
// 监听连接状态
- (void)rtmKit:(AgoraRtmKit *)kit connectionStateChanged:(AgoraRtmConnectionState)state reason:(AgoraRtmConnectionChangeReason)reason {
NSString *message = [NSString stringWithFormat:@"connection state changed: %ld", state];
}